切换亮色/暗黑模式
赛事管理
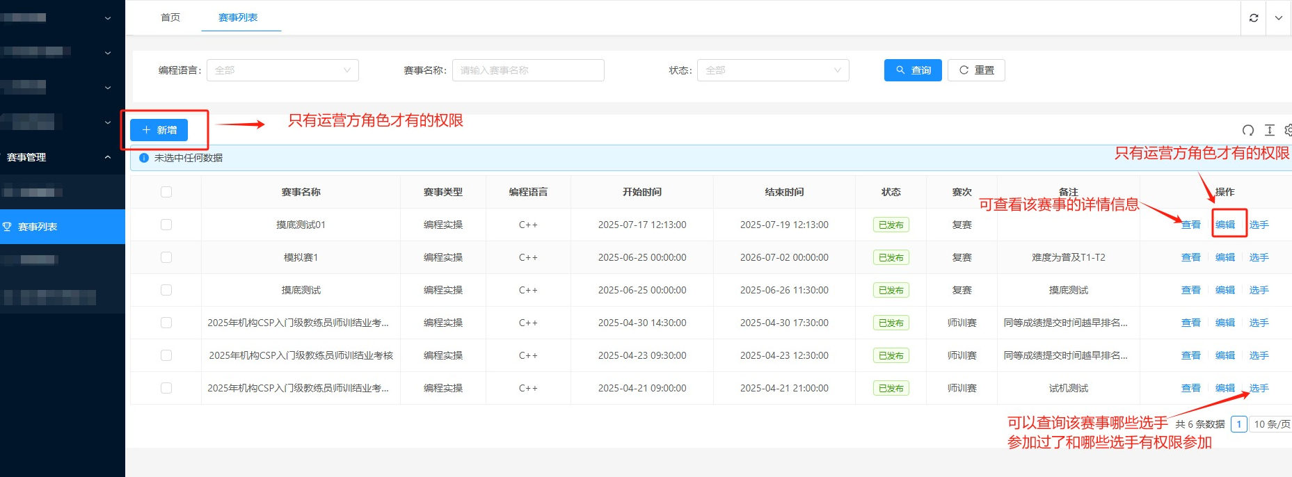
赛事列表管理
赛事操作
新增赛事(只有运营方才有权限):运营方点 “+ 新增”,填赛事名称、编程语言、机构、赛事管理员等信息(设机构、老师为管理员,可看赛事数据 ),选赛次、设开始 / 结束日期、选试卷,填备注后点 “确认” 创建。创建完可以在课程学习-赛事参与参加赛事。
查看赛事详情:点 “查看”,看赛事名称、语言、时间等具体内容。
编辑赛事(只有运营方才有权限):点 “编辑”,修改赛事名称、语言、机构等信息(同新增时的设置项 ),改完点 “确认” 保存。< 
管理参赛选手:点 “选手”,进入选手列表,可搜机构、学生姓名等找选手,导入 / 添加选手,还能看选手账号状态(生效 / 失效 ),筛选可参赛(账号生效 )的选手。
选手导入
点 “选手”,进入选手界面,可以点击“导入”批量导入基础用户信息,如果基础用户账号数不足的话会导入失败,失败在选手导入日志中查看。
一、选手筛选与查询
在选手列表,通过机构名称、学生姓名、选手类型、手机号、账号类型搜选手,填条件点 “查询”;想重新搜,点 “重置” 清空。
二、选手添加与导入
添加选手:点 “添加选手”,选机构、班级里账号生效的学生(失效用户无法参赛 ),勾选后点 “添加”,如果没用基础用户,可以在学员管理-基础用户进行创建。 
模板导入:点 “模板下载”,填选手信息后 “导入”,快速批量加选手。
三、选手信息查看与管理
在列表看选手机构、姓名、性别等信息,管控参赛人员,确保账号生效的选手参赛,提升赛事管理效率 。 
选手导入日志
一、搜索导入日志
填筛选条件:在页面顶部,输入 学生姓名、手机号,选择 导入状态(全部 / 成功 / 失败),设置 创建时间范围(开始 / 结束日期)。
执行查询:点击「查询」,列表显示符合条件的导入记录;若想重新筛选,点击「重置」清空条件。
二、查看导入状态
列表中 “导入状态” 列 用颜色区分结果:
绿色 “成功”:选手账号导入正常,无需处理。
红色 “失败”:导入出错,可看右侧「描述」列,了解错误原因(如 “Excel 格式错误”“机构 ID 参数错”等)。 
三、编辑失败记录(修正后重试导入)
点击编辑:找到状态为「失败」的记录,点击右侧「编辑」按钮。只有失败的才有编辑按钮。
保存修改:点击「确定」,系统会尝试重新导入(修正后可能转为 “成功”)。 
四、删除日志记录
找到要删除的记录,点击右侧「删除」,即可移除该条导入日志(成功 / 失败记录都能删,按需清理)。
