切换亮色/暗黑模式
赛事数据
查看赛事选手成绩
一、搜索赛事数据
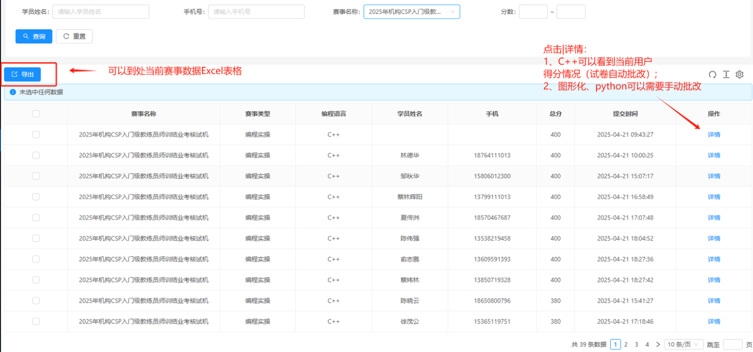
设置筛选条件:在页面顶部,填写 学员姓名、手机号,选择 赛事名称(运营方可见自身创建及机构赛事;机构管理员 / 老师仅显示分配给自己的赛事)。
执行查询 / 重置:点击「查询」,列表展示符合条件的赛事数据;若想重新筛选,点击「重置」清空条件。 
二、导出赛事数据
点击左上角 「导出」 按钮,可将当前赛事的 学员得分、提交时间 等数据保存为 Excel 表格,方便统计。 
三、疑似AI判定
在赛事数据列表中,如果在疑似AI生成这一列中有“是”这个标记,说明该用户这场赛事中某道题用AI来作答了,点击“详情”可以看到对应的哪一道题用AI生成,在评分的位置后面有个红色的标记“疑似AI生成”。

如果AI判定错了,有疑义的可以点击“查看代码”,然后点击“AI生成判定”进行修改。 
批改规则
进入详情页:找到目标赛事记录,点击操作列的 「详情」。
批改规则差异:
C++ 赛事:系统自动批改,直接查看选手得分。如果有错误可以直接修改评分框分数,然后点击“评分”。
图形化 / Python 赛事:需手动批改,每道题下面都设有评分框。
修改分数:在评分框输入分数(如 100),点击 「评分」,即可更新该题得分。 
